点击上方“华商报”可快速关注哦!
今天,可能(99.99%)是
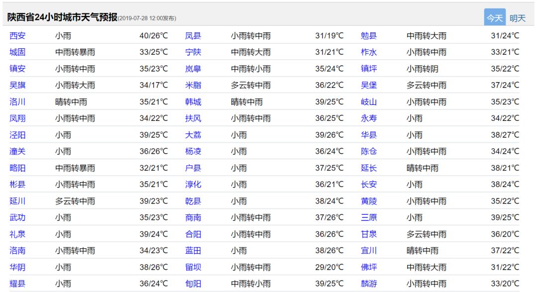
西安2019年最热一天


7月28日
西安发布高温红色预警信号
城区最高气温升至40摄氏度以上

西安市部分站点的气温就超过了30℃
华商报记者从气象部门获悉
西安市气象台2019年7月28日09时15分
升级发布
高温红色预警信号


陕西安康白河更是超过重庆奉节
以41.9℃成为全国气温之霸!


■华商报记者佘欣实习生雷珊茹
还要热多久?
小编放惊喜
今日热辣持续
明日有强降雨

落区
陕北、关中西部、陕南西部有中到大雨
关中东部、陕南东部有小到中雨
(其中陕北部分地方和汉中西部有暴雨,局地有大暴雨,并伴有雷电和短时强降水,最大小时雨强30~40毫米)

陕北、陕南西部30~70毫米,局地90~120毫米
关中西部20~50毫米
关中东部、陕南东部10~40毫米


本次降水天气过程陕北、陕南西部雨量大,降水对流性强,短时雨强大,局地伴有强雷电及雷暴大风,需加强防范强降水天气可能引发的城市内涝灾害、中小河流洪水及塌方、滑坡、泥石流等地质灾害。
公众需关注临近天气预报,出行时注意安全,同时各地相关部门应提前做好防御工作。





这几张急救措施你必须知道!








还没出门就开始流汗的午后
宝宝们都经历了什么?
【留言】里分享

炎热的夏天
要好好爱自己一定要做好三防:
防晒、防暑、防雷雨
综合:陕西气象、西安气象、中央气象台、央视新闻在看